| Sign In | Join Free | My tjskl.org.cn |
|
Brand Name : ZMSH
Model Number : Monocrystalline silicon double station square machine
Certification : rohs
Place of Origin : CHINA
MOQ : 1
Price : by case
Payment Terms : T/T
Delivery Time : 5-10months
Purpose : Monocrystalline silicon double station square machine
Equipment size : 4800×3020×3660mm(L x W x H)
Processing material size range : Monocrystalline silicon rod 6/8/12 inch
Cutting accuracy : ±0.05mm
Surface flatness : Ra≤0.5μm
Edge breakage control : ≤50μm
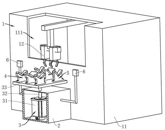
In the field of semiconductor materials processing, monocrystalline silicon two-root vertical open-mechanism island building is a highly specialized integrated production unit dedicated to precisely cutting cylindrical monocrystalline silicon rods (Ingot) into square or rectangular silicon blocks (Grit or Brick) in preparation for subsequent slicing (such as making silicon wafers). The core equipment is a two-root vertical cutting machine, and the "manufacturing island" refers to the automatic and intelligent processing system built around the equipment.

· Processing objects: monocrystalline silicon rods (usually Φ6 inches to Φ12 inches, 1-2 meters in length).
· Core task: Cutting four sides of a cylindrical silicon rod vertically with a double saw blade to form a high-precision square/rectangular silicon block (retaining the core and reducing material waste).
· Key indicators: cutting accuracy (±0.05mm), surface flatness (Ra≤0.5μm), edge breakage control (≤50μm).
Technical parameters
| Name of parameter | Index value |
| Number of bars processed | 2 pieces/set |
| Processing bar length range | 100~950mm |
| Machining margin range | 166~233mm |
| Cutting speed | ≥40mm/min |
| Diamond wire speed | 0~35m/s |
| Diamond diameter | 0.30 mm or less |
| Linear consumption | 0.06 m/mm or less |
| Compatible round rod diameter | Finished square rod diameter +2mm, Ensure polishing pass rate |
| Cutting edge breakage control | Raw edge ≤0.5mm, No chipping, high surface quality |
| Arc length uniformity | Projection range <1.5mm, Except for silicon rod distortion |
| Machine dimensions (single machine) | 4800×3020×3660mm |
| Total rated power | 56kW |
| Dead weight of equipment | 12t |
Machining accuracy index table
| Precision item | Tolerance range |
| Square bar margin tolerance | ±0.15mm |
| Square bar edge range | ≤0.20mm |
| Angle on all sides of square rod | 90°±0.05° |
| Flatness of square rod | ≤0.15mm |
| Robot repeated positioning accuracy | ±0.05mm |

Stable performance:
1. Vertical cutting, silicon rod self-positioning;
2. Cutting head cutting wheel axle box hole integrated processing, high precision, conducive to cutting;
3. Robot feeding and positioning, reliable and stable performance, low maintenance cost;
Capacity 4 tons (square rod):
1. High cutting speed :≥40mm/min stable cutting feed:
2. Cut two silicon rods simultaneously;
3. Loading and unloading time ≤3min.
Low cost:
1. A robot can be configured with 2 hosts, which can be formed into a rectangular manufacturing island unit, with flexible configuration and low cost of single machine;
2. Workshop automation can use ground track conveying structure, low automation cost.
High precision:
1. Root range ≤0.2mm;
2. The robot loading and unloading accuracy is high, repeated positioning accuracy of ±0.05mm.

Technical advantages:
High material utilization: By optimizing the cutting path, the silicon block retention rate can reach more than 85% (traditional methods are only 70%-75%).
Low damage processing: diamond wire sawing technology reduces microscopic cracks and improves the yield of subsequent slices.
Intelligent production: Support unmanned operation, only 1-2 people per shift monitoring.

Development trend:
Multi-line cutting technology: cutting with multiple diamond lines at the same time to improve efficiency.
Digital twin: Optimize cutting parameters through virtual simulation.
Green manufacturing: silicon powder recycling technology.
1. Q: What is a Twin Vertical Squaring Machine Island for monocrystalline silicon?
A: It’s an automated system that cuts cylindrical monocrystalline silicon ingots into square/rectangular blocks (bricks) using dual vertical spindles with diamond wire saws. Key features: high precision (±0.15mm), dual-ingot processing (2 rods at once), and robotic loading for solar/semiconductor wafer production.
2. Q: How does a Twin Vertical Squaring Machine improve silicon processing efficiency?
A: It doubles output by cutting 2 ingots simultaneously (40mm/min speed), reduces material waste (≤0.06m/mm wire use), and ensures high accuracy (±0.05° angle tolerance). Ideal for PV/semiconductor factories needing fast, low-cost squaring.
Tag: #Monocrystalline silicon, #Monocrystalline silicon double station square machine, #6/8/12 inch Silicon rod, #Silicon ingot, #Two position square machine
|
|
Monocrystalline Silicon Double Station Square Machine 6/8/12 Inch Burr ≤0.5mm High Precision ±0.05mm Images |